براءة اختراع ثورية من آبل ستجعل من سرقة الآيفون أمرا مستحيلا !

تعتبر مشكلة سرقة الهواتف الذكية واحدة من أهم المشاكل التي تواجه المستخدمين عبر العالم، و لأن عجلة الابتكار لا تتوقف أبدا فإن شركة آبل يبدو أنها أصبحت قريبة جدا من إنهاء هذه المشكلة و هو الأمر الذي كشفت عنه وسائل الإعلام المختصة نقلا عن براءة اختراع وضعتها الشركة.
و كانت وسائل الإعلام قد رصد براءة اختراع وضعتها شركة آبل خلال الأيام الماضية لدى المكتب الأمريكي لبراءات الاختراع “USPTO” تصف فيها آلية جديدة تمكن من محاربة ظاهرة سرقة الهواتف الذكية آيفون، حيث سيكون على السارق التفكير مليا قبل الإقدام على هذه العملية لأن ذلك قد يكشفه بسهولة.

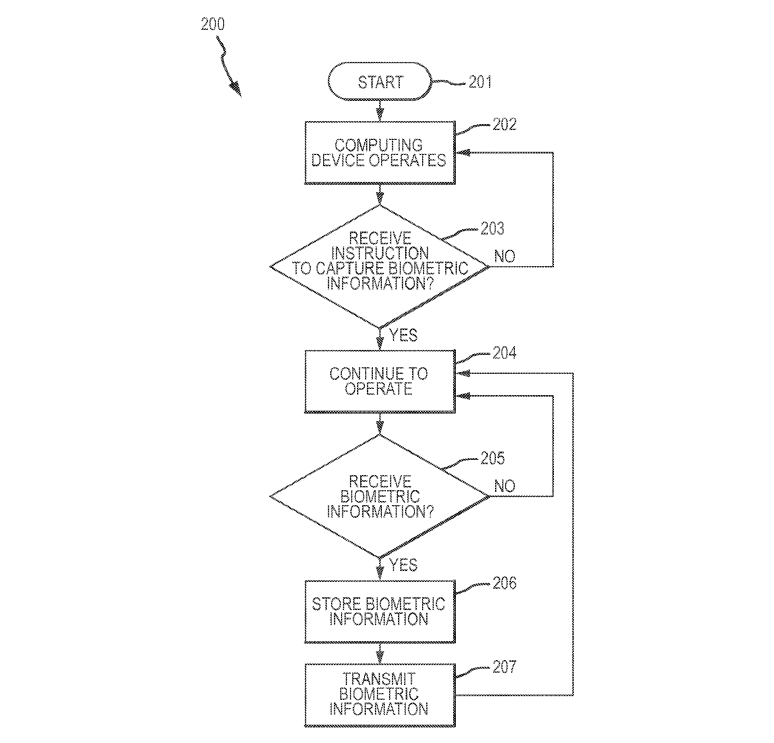
و ترتكز براءة الاختراع الجديدة من آبل و التي في حالة تنفيذها قد تصبح ميزة في هواتف الآيفون الجديدة، ترتكز على استخدام زر Touch ID من أجل رصد بصمة يد الشخص الذي سرق جهاز الآيفون، حيث يقوم الجهاز بإرسال هذه المعلومة بالإضافة إلى أن هذه الآلية قد تذهب أبعد من ذلك من خلال إرسال صور المستخدم الجديد وحتى تسجيلاته الصوتية إلى خادم خاص سواء للمستخدم أو للمصالح الأمنية من أجل تحليلها و دراستها و بالتالي التعرف على السارق.
و يأتي هذا النظام الأمني الجديد ليعمل بالتوازي مع ميزة توفرها آبل في حالة سرقة الآيفون و تمكن من رصد الجهاز من خلال تحديد الموقع الجغرافي، لكنها ميزة تظل غير فعالة بالشكل المطلوب.






